Dayton Audio MK442T Transmission Line Tower Speaker Review
- Product Name: MK442T Tower Speaker
- Manufacturer: Dayton Audio
- Performance Rating:




- Value Rating:




- Review Date: July 02, 2019 01:00
- MSRP: $ 228/pr ($199/pr + free shipping @ Amazon)
- Design: 2-way dual 4" transmission line tower speaker
- Woofer: Dual 4" high excursion driver with a treated paper cone
- Tweeter: 3/4" soft dome
- Finish: Black vinyl
- Power handling: 80 watts RMS/160 watts max
- Impedance: 4 ohms
- Frequency response: 40 Hz to 20,000 Hz
- Sensitivity: 87 dB 1W/1m
- Crossover: 3 kHz, 2nd order low pass, 3rd order high pass (acoustical slopes)
- Terminals: 5-way gold plated binding posts
- Dimensions: 38.1" H x 5.7" W x 9.6" D (Depth includes removable grill)
- Weight: 26 lbs.
Pros
- Easy-going, non-fatiguing sound
- Wide, enveloping soundstage
- Broad coverage over a wide angle
- Nice looking
- Doesn’t eat up much physical space
- Light and easy to move
- Very affordable!
Cons
- Rocky mid-bass response
- Somewhat low sensitivity for a floor-standing speaker
- Not powerful enough for large rooms
Dayton Audio found widespread acclaim last year for their low-cost MK402 bookshelf speaker from a swarm of positive reviews including our own. All of this praise must have compelled Dayton Audio to expand their product line, because they have introduced a floor-standing version, the MK442T. While it is still extremely affordable, the MK442T costs more than the MK402 but is also a more ambitious loudspeaker. Dayton Audio could have simply plugged the same drivers in a larger cabinet and called it a day in creating a tower speaker variant of the MK402, but, as with the MK402 itself, they wanted to do something special. The MK442T is a low-cost tower speaker using a transmission line cabinet. That is a challenging design even for much more expensive enclosures, but Dayton Audio is giving it a shot in the budget speaker realm. So how good is this speaker pair that is priced at a very affordable $228? Let’s take a closer look to see what Dayton Audio has delivered at this modest price point…
Best $200/pair Tower Speaker YouTube Discussion
Packing and Appearance
The MK442T speakers arrived very well-packed especially when considering the price. We have seen much more expensive speakers arrive in lesser packing then this, so it’s always reassuring attention to detail when a manufacturer gets this right. The speakers come double-boxed with sturdy polyethylene foam blocks holding the speakers at the top, bottom, and middle. Plastic wrapping protects the speakers from moisture. These speakers are well-packed enough to take the inevitably brutal shipping treatment that pretty much all the major parcel delivery businesses are known for.
Once unpacked, two nice looking, and, dare I say, attractive speakers emerge. The aesthetic norm for floor-standing speakers in this price range tends to be merely utilitarian, but the MK442Ts are actually handsome speakers and should fit in the decors of most homes. One aspect that helps in this regard is that they are relatively narrow tower loudspeakers and so do not draw as much attention to themselves as would a more regular-sized tower speaker. They have a textured black vinyl wrap like so many other speakers use these days, but it isn’t bad and it’s a good deal sleeker than basic matte black. Personally, I prefer this finish over the faux-wood vinyl wraps that are sometimes seen in low-budget speakers. The tweeter and woofers are relatively nice looking as tweeters and woofers go, and the beveled edges at the top and bottom of the cabinet go a long way toward bringing style to these budget speakers. The speaker rests on a plinth to give it stability, and the plinth itself has some beveling which adds a touch of class to the MK442Ts. At a glance alone, I wouldn’t guess that these speakers were as inexpensive as they are. Dayton Audio has done a great job in the industrial design department here.
Design Overview
The Dayton Audio MK442T is a two-way floor-standing speaker using two 4” bass drivers and a ¾” dome tweeter. As mentioned, the cabinet uses a transmission line to supplement the low frequencies instead of the typical port that you would expect to see in a speaker in this price class. The drivers used in the MK442T are the same as that used in the MK402 and MK442. Although the woofers are relatively small in diameter, they are serious performers. I will not go over all the details of their design since that was covered extensively in our review of the MK402/MK442. Suffice it to say they are of a higher-quality construction than one would expect to see in such a low-priced speaker. The same is true of the tweeter.
The crossover is a 7-element piece using three capacitors, two resistors, an one air-core and one iron-core inductor. The spec’d frequency is 3kHz with a 2nd-order low-pass and 3rd-order high-pass acoustical slopes. As with other aspects of the MK442T’s design, that is a much more substantial crossover than one expects to find at this price point. The crossover is mounted on the back of the cup for the speaker terminals, which uses a 5-way binding post- another feature not commonly seen in speakers of this price class.
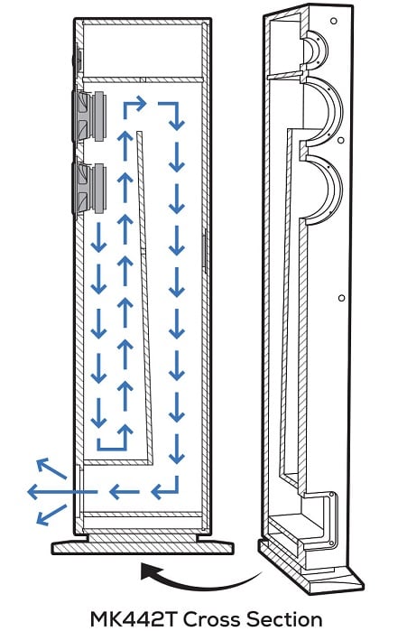
The cabinet uses ½” MDF side-panels with a ⅝” front baffle. While that might seem somewhat thin, it doesn’t feel that way when given a knock test because the cabinet panels are so narrow. There is just not a lot of room to flex with such small surface area width, and the transmission line divider also does a lot to brace the side panels as well. There are also blocks in the internal edges for added bracing. The MK442T enclosures do not feel lightweight; they feel surprisingly solid. The cabinet is attached to a plinth which uses some rubber feet. The plinth has the same kind of stylized beveling seen in the upper half of the cabinet.
As a whole, the cabinet forms a quarter-wave transmission line. This design uses the backwave pressure from the woofers to vibrate the mass of air inside the cabinet at frequencies determined by the length and shape of the air pathway inside the cabinet. That is different from a conventional ported design where only the air in the port is loaded so that its resonance is what generates sound. A similarity between ported designs and transmission line designs is that the standing wave acts on the back of the driver cone thereby attenuating its motion. This helps to dramatically reduce distortion around the transmission line’s resonant frequency. Unlike a ported loudspeaker, a transmission line does not have a full cycle of phase delay from its open end. A quarter wave transmission line has a much shorter 90-degree delay from the open end, and since most of the output of the speaker is coming from the opening of the transmission line at low frequencies, this does not turn into a big conflict with the woofer’s output. Proponents of transmission lines claim they have the transient response of a sealed speaker along with the low-end efficiency and output of a ported speaker.
What do these design decisions all add up to? Like the MK402/MK442, I wouldn’t expect the MK442T to be an output monster. Two 4” woofers have about the same surface area of a 5.6” cone. But no one shopping for floor-standing speakers in this price range should be expecting dynamic range over-achievers anyway. They should still be able to get more than loud enough for regular users though, and though the cone diameter of the woofers is on the small side, they do have an unusually high excursion. As with the MK402/MK442s, I would expect wide dispersion, so that sound is projected out at a very wide angle. Unlike the MK402/MK442, I would expect these to handle low-frequencies better. The MK402s, in particular, had a very small port in order to achieve a low port tuning, but this meant that they could be driven into port turbulence (“chuffing”) without too hard of a push. So what we should be looking for is MK442-like performance but with a lot more capable low-frequency performance. That would be a recipe for a terrific loudspeaker! Let’s now give these a listen to see how close they come to the promise of their design…
Listening Sessions
In my 24’ by 13’ (approximately) listening room, I set up the speakers with stand-off distances of about three feet between the back wall and sidewall, and equal distance between speakers and listening position. Listening distance from the speakers was about 9 feet. Amplification and processing were handled by a Pioneer Elite SC-55. No room correction equalization was used.
Music Listening
For
a good recording of a vocal, I was loaned an a
lbum of folk music called ‘No
Place Like Home’ by John Simon. While folk music is not my personal go-to genre
for listening enjoyment, I gave ‘No Place Like Home’ a spin on the MK442Ts to
see how they performed with simpler music that had an emphasis on a singular
vocal. This charming set of original folk compositions set John Simon’s singing
against a couple of acoustic guitars while occasionally throwing in a few other
accompanying instruments on various tracks. The production quality was
excellent and could serve as demo material for any hi-fi stereo system. The
MK442T’s reproduced ‘No Place Like Home’ with clarity and precision. The
acoustic guitars were given a sense of sprightliness and authenticity, and Mr.
Simon’s voice came through with a similar lifelike naturalness. The imaging was
nicely focused, with John’s voice having a well-defined central position and
instrumental accompaniment nicely delineated across the soundstage. This album
plain old sounded good on the MK442Ts without even considering their
entry-level pricing. An A/B comparison against more expensive and less
cost-conscious speakers might be able to reveal their shortcomings, but from
just sitting down and listening to this album, I could not tell you that the
MK442Ts had any shortcomings. I did not find this particular musical recreation
lacking in any significant way, which is a real win for a $230/pair speaker
set.
Borrowing
once again from the ‘In Classical Mood’ music set that has appeared in prior
reviews, I turned to the album ‘A Night at the Opera’ which is a collection of
superb opera recordings of compositions from the likes of Verdi, Puccini, and
Mozart. The individual tracks are taken from other recordings, so the
performers,
setting, and recording techniques differ from track to track, but
the production quality and sound engineering remain first-rate throughout. Many
if not all of the performances are recorded in concert halls, but the recording
techniques differ, and this can be heard through the MK442T speakers. Some of
the tracks have more distinct imaging that must have been recorded in closer
proximity to the performers while others have a more reverberant sound that
would have been recorded at a greater distance. As one would expect of an
opera-themed album, there were many high-powered vocals at the fore of the
performance, with vocals spanning every range from baritone to soprano. The
MK442Ts ably delivered these performances to my living room and for less than
the cost of a typical opera ticket. These are not the speakers one would want to
use to recreate the actual SPLs heard at a live opera, but if your dynamic
range demands are more modest, the MK442Ts can produce a nicely enveloping
concert hall ambiance thanks to their wide dispersion. The soundstage was wide,
yet the imaging was sharp. Voices were vivid and clear and never became lost in
the orchestral accompaniment even at roaring crescendos. Choral passages, in
particular, had a terrific spaciousness that sonically transformed my humble
living room into an immense concert hall, and that to me is well worth the
modest admission cost of these speakers.
I
decided to listen to something with a bit less acoustically natural that used
more sound engin
eering trickery for a more ‘sculpted’ sound, and the album I
selected for this was Enya’s 2015 release ‘Dark Sky Island.’ As a longtime fan
of Enya, her voice and her signature production sound are well-known to me, so
her albums are a good choice for me to gauge the tonality of a sound system.
‘Dark Sky Island’ doesn’t break much new ground for Enya, and it pretty much
sounds like many of her previous efforts, but that is OK with me since her
music is always a gentle and pleasant escape from the stresses of everyday
life. The MK442Ts reproduced ‘Dark Sky Island’ with all the lush, sweeping sound
that one would expect from an Enya album. The MK442T’s wide dispersion is
likely an advantage here in that it may be able to better project Enya’s often
panoramic soundscapes by producing a greater ratio of reflected-to-direct sound
than a typical two-way loudspeaker. In other words, much of the sound arriving
at the listening position is acoustic reflections from sidewalls and other
surfaces which hit our ears at wider angles than the speakers are positioned
at. This may be able to impart a greater sense of spaciousness than the sound
that mostly only arrives from a single direction. The irony here is that this
effect tends to make small loudspeakers sound ‘big’ since smaller drivers
project sound out at a wider angle. Those looking for an affordable loudspeaker
that is good at creating a large soundstage would do well to look at the Dayton
Audio MK442T, and this is amply demonstrated in its playback of ‘Dark Sky
Island.’
One
album that I used to get a sense of the MK442T’s bass capability was the 1995
electronic music compilation ‘Transmissions from the Planet Dog.’ The music in
this album lay somewhere between Techno, Psychedelic Rock, Ambient Music, and
all with a very heavy Jamaican Dub influence. That adds up to lots of bass, fat
percussion sounds, twisted analog lead synths, and a meaty low-tempo jam for
those who like their chill in an altered state of consciousness. This music is
trippy yet fun and easy-going, but it really benefits from a sound system that
has some low-frequency capability. So can the MK442Ts bring a solid
low-frequency foundation to ‘Transmissions from the Planet Dog?’ The answer is
an unequivocal and resounding yes! I did move the speakers closer to the rear
wall to boost the bass more through boundary gain, but the speakers were not
bass shy even when placed in an open area; I just happen to like this type of
music with stronger bass, and boundary gain is an easy way to boost bass
frequencies without boosting the low-end EQ. Outside of the thick bass lines
and beefy kick drums, the MK442Ts rendered the unearthly soundstage created by
the synthesizers, samplers, and effects processors in an expansive and
enveloping aural environment. Strange sounds imaged well outside the width of
these speakers’ placement to the extent that I have to question the usefulness
of side-surround speakers when you can have speakers like these.
One thing to note is that to achieve the loudness level that I was accustomed to listening, I did have to have the gain dial at a significantly higher setting than normal. That, of course, tells me the MK442Ts are not the most sensitive around, but, given the design, that was expected. Still, there is only so much wattage that two 4” woofers and a ¾” dome tweeter can handle, so these are not party speakers. Regarding their 80-watt RMS power-handling specification, I don’t know that I would want to throw a continuous 80 watts at these; that seems like a lot considering their specs. I found the dynamic range to be good but not mind-blowing, and I would guess it has a wide enough dynamic range for most people in a medium-sized or smaller rooms. They would likely be over-taxed in a large room, however, I do think they would be able to get pretty loud in a small room. They are not large floor-standing speakers and would best be placed in a room commensurate with their size.
Movie/Television Watching
Our
recent review of a low-cost floor-standing speaker
used the film ‘2001: A Space
Odyssey’ as evaluation content, so I thought it would only be natural to use
its sequel ‘2010: The Year We Make Contact’ as a chance to let the MK442Ts
stretch their legs. ‘2010’ is not as purely musical of an experience as its
predecessor, but it is still an interesting aural experience of its own. It
does use a couple of musical cues from the first movie including Richard
Strauss’ ‘Thus Spoke Zarathustra,’ but it also takes a different musical
direction with David Shire’s mix of electronic and orchestral pieces. Another
direction that ‘2010’ took differently from ‘2001’ was the decision to add
effects sounds to events that take place in the vacuum of space such as the
roar of rocket thrusters. I left the subwoofer off for this film and gave the
full range to the MK442Ts. They did not disappoint, although I know that there
would not be any extremely deep bass in this movie that would exceed the
MK442T’s specified range below 40 Hz. They had no trouble recreating the music,
effects, and dialogue of ‘2010.’ While the MK442Ts are not what one would use
for reference level listening, they still managed to bring force to the
crescendo of ‘Thus Spoke Zarathustra’ and the rumble of the atmospheric braking
scene of the slingshot around Jupiter. The MK442Ts could tackle ‘2010’ with no
problem, but I wouldn’t want to throw a contemporary science fiction movie on
them without the assistance of a subwoofer. The low-frequency content of ‘2010’
still managed to make the MK442T’s cones visibly move, and it would not have
much bass below 40 Hz. A modern soundtrack, by comparison, can have strong
low-frequency content below 20 Hz, and that would surely overwhelm those 4”
bass drivers at anything over a very modest loudness level. A subwoofer should
be used with these speakers for watching modern action and science fiction
movies.
One
television series that I watched with the MK442Ts was Amaz
on’s ‘Hanna,’ a
remake of the 2011 action movie. I figured that ‘Hanna’ would be a broad guide
to these speakers’ ability to handle a contemporary sound mix since it was a
show whose audio mix is likely centered on dialogue but with plenty of effects
sounds and music. I set my system for two-channel only so that the MK442Ts
would be forced to handle everything. ‘Hanna’ ended up having more music than I
expected with a variety of alt-rock tracks peppering the sound mix. Of note
regarding the sound mix is Geoff Barrow and Ben Salisbury’s brooding,
atmospheric music score that was punctuated by pieces from Karen O’s gentle,
intimate vocal songs. Barrow and Salisbury were the duo behind the stunning
music score for ‘Annihilation,’ and the work they do here is just as intense if
not as exotic. I watched all eight episodes of this series, and I didn’t feel
like I missed anything using the MK442Ts despite their very low cost. Music,
effects, and dialogue sound all came through loud and clear, and the speakers
had sufficient bass extension that I don’t think the addition of a subwoofer
would have been a major boost in the sound. The MK442Ts had a full sound and
seemed to capture the entirety of this vibrant sound mix.
Dayton Audio MK442T Measurements and Analysis
The Dayton Audio MK442T speakers were measured in free-air at a height of 7.5 feet at a 2-meter distance from the microphone, with the microphone raised to a 10’5” elevation that was level with and aimed at the tweeter center. The measurements were gated at 11-milliseconds. In this time window, some resolution is lost below 200 Hz and accuracy is completely lost below 100 Hz. Measurements have been smoothed at a 1/12 octave resolution.
The above graphs depict the MK442T’s direct-axis and horizontal dispersion out to a 100-degree angle in ten-degree increments. The most stand-out aspect in these curves is that we can see a spectral tilt toward lower frequencies. This should give the MK442T a relatively ‘warm’ sound that might also be described as ‘laid-back.’ I didn’t get a particular sense of warmth in my own listening to these speakers, but it may be something that is more readily apparent in an A/B comparison with a neutral speaker or perhaps something with hot treble. What is interesting is the direction that Dayton Audio has taken with the voicing of the MK442T speakers; in our review of their bookshelf and MTM counterparts, they had rather elevated treble, the MK402s especially. The voicing on the MK442Ts is almost an opposite. That is OK with me as I prefer a warm sound over a hot sound. The MK442Ts should be very easy to listen to, and those who get hearing fatigue from too much treble ought to give the MK442Ts consideration. What’s nice about this is that budget speakers tend to have hot treble, so here is a very affordable speaker that’s much more easy-going. What is also convenient about the character of the treble response is that, like the MK402, the elbow of the change occurs at a frequency where a typical treble tone control becomes active, so those who want a more neutral and less warm sound can simply raise the treble tone control up by 2 or 3 dB.
The on-axis response has a low-Q peak around 2.5 kHz but that settles down outside of a 30-degree angle. In fact, at 50 and 60-degrees, the MK442Ts have a nicely flat midrange response, although that does come at the expense of output at 10 kHz and above. One thing to note is the ragged response at bass frequencies. There is a high-Q null at 300 Hz followed by a peak just under 400 Hz. These are succeeded by some other minor dips and peaks above that point. These look to be pipe resonances from the transmission line. They are harmonic resonances of the transmission line’s resonant frequency that occur when transmission lines are underdamped. These resonances can be heard in outdoor test sweep tones, but they aren’t as audible in complex content. The dip would be difficult to notice, but the peak would probably be noticeable were this speaker compared directly to one with a flat response in that range. The thing is I didn’t notice anything out-of-whack when I was actually listening to the MK442T’s in-room. The most severe portion of this ragged response occurs below the transition frequencies of most rooms where the room acoustics will mangle the response anyway. The bottom line is that while it would be better if these speakers had a flat bass response, these flaws aren’t enormously audible. Automated room correction programs like Audyssey may be able to trim the peaks in the bass response, but even then, I wouldn’t necessarily say it’s worth the penalties that such programs bring in upper frequencies. Some forms of room correction equalization can be limited to bass frequencies only, and in those cases, it may be advisable to run that kind of program on these speakers, but systems with that ability are probably not usually going to be paired with speakers in this price range.
The above polar map shows the same information in the preceding graphs but depicts it in a way that can offer new insight regarding these speakers’ behavior. Instead of using individual raised lines to illustrate amplitude, polar maps use color to portray amplitude, and this allows the use of a purely angle/frequency axis perspective. The advantage of these graphs is they can let us see broader trends of the speaker’s dispersion behavior more easily. The foremost feature of the horizontal dispersion of the MK442Ts is its very wide coverage. This speaker projects sound out at a very wide angle, as was promised by its design. Dispersion does tighten up above 10 kHz, so those who want that very high treble ought to listen as closely to the on-axis angle as possible, but most listeners will still get a relatively full sound even past a 70-degree angle. Some good news is that there is a relatively good correlation between the on-axis response and off-axis response, so EQ changes made should have a proportionate effect at all angles. The MK442T is a great choice for those who want wide coverage, and this can be advantageous for a wide seating area relative to speakers’ positioning.
The above graph shows the Dayton Audio MK442T’s low-frequency response that I captured using groundplane measurements (where the speaker and microphone are on the ground at a 2-meter distance in a wide open area). In this graph we get a closer look at the null centered just below 300 Hz. As was mentioned before, it is a bit too narrow to be intrusive in listening to real-world content, but it is a blemish, nonetheless. Below that dip, the response is smooth, with a gentle taper from 200 Hz down to 40 Hz below which the response falls off at a much more rapid rate. Dayton Audio’s claimed 40 Hz extension spec for the MK442T does pan out here. 40 Hz is deep enough to cover most music recordings, so those buying these speakers for music are covered unless they want high SPLs in bass.
The above graph shows the electrical behavior of the Dayton Audio MK442T speakers. Dayton Audio’s impedance spec of 4 ohms turns out to be rather conservative. Impedance doesn’t really dip below 5 ohms. However, too much of the impedance curve is too low for the MK442T to be said to be an 8-ohm speaker. If Dayton Audio had said this is a 6-ohm speaker, I would not have argued with that spec. Either way, it’s not a tough load for amplifiers, despite its official specification. Any AVR or amplifier should be able to run these speakers pretty easily. We do see a few ripples from 200 Hz to 400 Hz which are more evidence of the pipe resonances of the transmission line. Dayton Audio specified the MK442Ts as having an 87 dB 1 watt/1 meter sensitivity. I measured 84 dB for 2.83v at 1 meter. The difference may be attributable to Dayton Audio’s measurement of watts and my measuring in voltage. These aren’t enormously sensitive speakers, but that is a given due to their design. As was mentioned before, these aren’t party speakers or hand-banging speakers, however, they should have enough dynamic range for most people.
Conclusion
Perhaps a good
way to sum
up the Dayton Audio MK442T is to look at it through the lens of the
preceding products in its series: the MK402 bookshelf speaker and MK442
LCR/center speaker. The MK402 was an extraordinarily high-value small bookshelf
speaker with good bass extension but hot treble, although the treble was easily
controllable with systems that had a treble tone control. The MK442 was a good
value center speaker but an outstanding value as a vertical LCR that granted a
smooth yet detailed listening experience for which we at Audioholics awarded it
the product of the year among budget bookshelf speakers. The MK series were not
perfect- no loudspeaker of such a modest cost could be- but were very good for
the pricing, and the MK442T is likewise an excellent value. For my own tastes,
the MK442T is my new favorite among the MK speakers due to the warmer voicing
that make them very easy to listen to.
Before bringing
this review to a close, I want to briefly list some of the MK442T’s ups and
downs, and, as always, I will start with th
e downs. In my opinion, their chief
limitation is the dynamic range, but this isn’t really a criticism since these
aren’t intended for large rooms or really loud volume levels. This is more of a
memo to novice speaker buyers, as those who are more experienced in audio will
know that this kind of design won’t blow the doors off their hinges. However,
as was mentioned before, when used in a medium to small room, these should have
sufficient dynamic range for most users. They can get loud, just not blazing
loud. One thing that users can do to increase the dynamic range is to use
subwoofers with a high-pass filter on the speakers. That will take a big load
off the woofers which are the bottleneck in this regard.
Another limitation with this speaker is its jagged mid-bass response. This looks worse on paper than it sounds in practice, in fact, I didn’t hear anything that particularly bothered me in the mid-bass, but I am guessing that Dayton Audio could have obtained a more linear response with similar extension by just using a traditional ported design. However, as I mentioned before, room acoustics in small and medium sized rooms do terrible things to bass frequencies, so the raggedness of the mid-bass might be disguised by normal room acoustics. I do have to give Dayton Audio credit for trying something different here, even if I don’t think it was quite one-hundred percent successful.
Now let’s talk
about the MK442T’s positive aspects. For me, its best attribute is its frequency
response which is not terribly neutral but still pleasant. It’s an easy-going
speaker that has a full sound and is not fatiguing to listen to for long
stretches. While there is a downward tilt in the response, I didn’t think they
lacked detail or sounded at all muffled or shaded. Another aspect of its
pleasant sound is its very wide and relatively even dispersion which creates an
enveloping soundstage and a surrounding presence. It also allows the user to
have good coverage over a wide seating area. This makes the MK442Ts a good
choice if you have listeners seated off to the sides. While I did criticize the
mid-bass for having a somewhat rough response, the MK442T’s bass extension is
very good
for a budget tower speaker with a solid response down to 40 Hz.
Overall, the MK442Ts sound good, and I can say that without the caveat of “for
a budget speaker.” They are simply enjoyable to listen to with a pleasing,
well-rounded sound.
Their positive attributes don’t stop with the sound. They look very nice for a budget speaker and are probably the nicest looking entry-level tower speaker out there. They are not a large speaker and will not have a major physical presence in a typical room. They don’t weigh a lot and are easy to move if needed- and that is a much greater convenience than most people realize. The build quality is as good as if not better than anything else in its price range. Buyers can have confidence in the speakers arriving in good condition on account of the above-average packing.
In the end, I would say that Dayton Audio has produced another winner. $228 gets you a space-conscious floor-standing speaker that looks nice and sounds good. That is a real bargain. The MK442T speakers are a great entry-way into high-fidelity. They are perfect for bedrooms, office rooms, media rooms, or any other small/medium sized room where space is at a premium. One thing I would like to see in the future is for Dayton Audio to expand on the work here to develop a loudspeaker along these lines but more powerful. What could Dayton Audio do when less restricted by costs; if they can produce a speaker this good for $228/pair, what could they cook up for $500 to $600 a pair? I would be very interested in seeing what they could do with a three-way design capable of higher SPL within this product line. Take that as a challenge, Dayton Audio!
The Score Card
The scoring below is based on each piece of equipment doing the duty it is designed for. The numbers are weighed heavily with respect to the individual cost of each unit, thus giving a rating roughly equal to:
Performance × Price Factor/Value = Rating
Audioholics.com note: The ratings indicated below are based on subjective listening and objective testing of the product in question. The rating scale is based on performance/value ratio. If you notice better performing products in future reviews that have lower numbers in certain areas, be aware that the value factor is most likely the culprit. Other Audioholics reviewers may rate products solely based on performance, and each reviewer has his/her own system for ratings.
Audioholics Rating Scale




— Excellent



— Very Good


— Good

— Fair
— Poor
| Metric | Rating |
|---|---|
| Build Quality | |
| Appearance | |
| Treble Extension | |
| Treble Smoothness | |
| Midrange Accuracy | |
| Bass Extension | |
| Bass Accuracy | |
| Imaging | |
| Dynamic Range | |
| Fit and Finish | |
| Performance | |
| Value |

















